第四章 路面材料强度试验

  3.计算不同侧压力状态下应力——应变线性阶段的高温形变模量。
  图4--16所示,在σ1i-ε1i,;关系曲线的线性段AB上任取实测数按下式计算出每段的形变
  模量值E1

                
  也可用下式计算出形变模量值E1
               
  然后,取该几段形变模量的平均值,作为具有代表意义的(在所处侧压力情况下)高温形变模量值。
乙、闭式三轴试验法
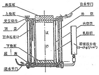
  本试验需要下列仪器设备:
  (一)三轴压力室:由一个直径约120mm,高约230mm,壁上有孔的内套筒和一个直径约155mm,高220m的外筒,圆形底座,上、下垫板和精密压力表等组成。全部玻璃钢制成。
  如图4—16;
图4一16 三轴压力室示意图

  (二)超级恒温箱;
  (三)压力架;可用马歇尔稳定度仪的压力架代替;
  (四)其他:同开式三轴试验法。
分页: 1 2 3 4 5 6 7 8 9 10 11 12 13 14 15 16 17 18 19
  20 21 22 23 24 25 26 27 28 29 30 31 32 33 34 35 36 37 38 39